作者: admin 时间: 2019年12月9日 点击量: 18893
1.权限管理:
不同的用户权限不同,如校长登录后,可以查看校长信箱,备课组长登录可以填写备课记录,值班干部可填写值日记录,其他用户则不可以。
若个别老师需要特别权限,可以联系管理员。
具体如下:
查看:R 创建:C 修改:U 删除:D
|
项目 |
教职工 | 中层干部 | 备课组长 | 班主任 | 校长 |
|---|---|---|---|---|---|
| 校长信箱 | CU | CU | CU | CU | CUD |
| 值班记载 | R | CR | R | R | CUR |
| 工作计划 | CR | CRU | CR | CR | CRU |
| 备课计划 | R | R | CURD | R | R |
| 报修维修 | CUR | CUR | CUR | CUR | CUR |
2.信息的过滤:过滤显示学科为物理的老师

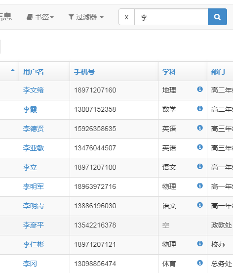
3.信息的搜索:搜索姓“李”的老师

4.信息的排序:点击表头“年级“可以进行排序操作,可以正序或倒序

5.信息的导出:点击导出可以导出不同格式的文件

6.选择显示需要的列:可以按需选择要显示的“列”

7.界面主题的更换:点击右上角主题可以更换自己喜欢的界面
